2019年度税款所属期的个人所得税申报记录网上查询打印功能正式上线啦!
此次上线的功能包括纳税清单查询打印、收入明细查询申诉和申诉记录查询三项。
快跟小编一起看看如何操作吧!
打开自然人税收管理系统WEB端(https://its.shenzhen.chinatax.gov.cn/),使用注册过的身份证件号码及密码或个人所得税APP扫码登录:

点击页面下方的【深圳税务特色应用】:

功能一:纳税清单查询打印
纳税人可通过本功能查询2019年1月属期及之后发生的全国范围内个人所得税的申报记录以及征收数据。
操作步骤:
1.点击【纳税清单查询打印】,进入可查询页面,选择查询记录时间后点击【查询】按钮进行记录查询:


2. 查询结果展示完毕后,可通过点击【开具】按钮进行纳税清单打印:

3.若对查询结果中一项或者若干项记录有异议,可通过首页【收入明细查询及申诉】功能进行明细查询和异议申诉。
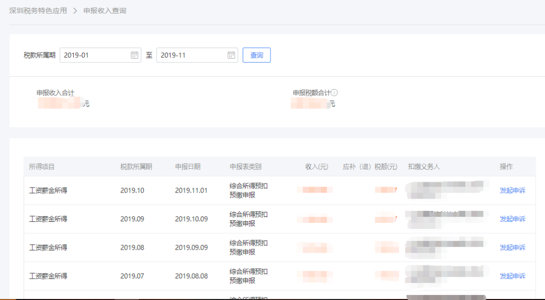
功能二:收入明细查询申诉
纳税人可通过本功能查询2019年1月属期及之后发生的全国范围内个人所得税收入纳税明细,针对存在异议的申报记录,可通过【申诉】功能发起异议申诉。
税务部门会对纳税人发起的申诉进行调查核实处理,处理完成后系统将反馈处理结果。申诉成功的申报记录将不再显示,且不会参与个人所得税综合所得年度申报的计算。
操作步骤:
1.点击【收入明细查询申诉】,进入可查询页面,选择税款所属期可进行收入明细查询;
2.点击【查看明细】可查看收入纳税明细,如对某笔收入有异议,可点击【申诉】发起异议申诉:

3.在弹出弹框中选择申诉类型,并填写补充说明,勾选承诺内容后点击【提交】完成申诉申请:

功能三:申诉记录查询
纳税人可通过本功能来在线查询纳税明细申诉记录的处理进度和处理情况。
操作步骤:
1.点击【申诉记录查询】,进入查询结果页面,选择申诉类型和申诉状态可进行纳税明细申诉记录的筛选:

2.点击【查看详情】,可以进入详情页面查看该申诉记录的各项明细信息:

温馨提示:系统持续优化中,使用时请以实际页面为准哦。
延伸阅读:

